Last Update :
My Cart
0 items
Home Page
About Us
Our Products
Surgical Instruments
Dental Instruments
Beauty Care Instruments
Veterinary Instruments
Eye Instruments
Inquiry Basket
Instruments Care
Contacts
Our
Products Detail
Our
Categories
Surgical Instruments » Tracheotomy
Surgical Instruments
Scalpels
Scissors
Forceps
Forceps
Forceps
Retractors
Probes
Diagnostics
Trocars, Suction Tubes, Cannulas
Anaesthesia
Suture
Dressings
Bone surgery
Bone surgery
Cardiovascular Surgery
Eurosurgery, Laminectomy
Tracheotomy
Dermatology
Stomach, Intestines, Rectum
Urology
Gynecology
Obstetrics
Calipers
Otology
Rhinology
oral maxillo-facial surgery
Tonsillectomy
Laryngo-Bronchoscopy
Cranio-Maxillo-Facial Surgery
Cranio Maxillo Facial Surgery
Hygiene Storage
Miscellaneous
Miscellaneous
Miscellaneous
Dental Instruments
Explorers, Delicate, Flexible, Probes
Amalgam Pistolen
Tooth Extracting Forceps
Instruments for Root Fragments
Tooth Forceps for Children
Scalers, Curettes
Periodontometer
Titan handels,Working tips
Grinding Stones, Sterilizable
Periodontal Instruments & Files
Raspatories, Files, Chisel
Mucotome, Tongue & Plasters Spatulas
Micro Scalpels, Gingivectomy Knives & Handle for Blade
Periodontal Surgery Sets, Munster Pattern
Endodontic Microsurgical Set
Mouth Mirrors, Handles,Napkin Holder, Saliva Ejector
Tooth Tweezers
Mouth Gags, Retractors
Gum, Surgical, Ligatur, Bandage Scissors
Dissecting, Dressing, Delicate Tissue, Haemostatic Forceps
Towel Clamps
Awls & Suction Instruments
Bone Curettes
Bone Rongeurs, Bone Cutting & Bone Holding Forceps
Needle Holders & Needle cases
Aspira-Plus, Water Syringe
Osteotomes & Mallets
Reposition Forceps
Elevators
Plastic Filling Instruments & Exaxial Set
Burnisher & Nerve Instruments
Instruments for Removel of Roots, Syndesmotomes
Impression Trays
Crown Instruments, Removing Pliers, Plate Scissors & Wire
Waxing Instruments
Pliers for Technic, Orthodontics
Wire Bending Pliers & Wire Cutters
Excavators
Rubber-Dam Instruments
Matrices, Matrix Retainers
Composite - Instruments, Freiburg Pattern
Separating Forceps, Band Seater
Sterimax
Kidney Trays, Round Bowls, Guaze Case
Beauty Care Instruments
Hair cutting Scissors
Barber and Dressing Scissors
Professional Thinning Scissors
Nail and Cuticle Scissor
Fancy and Printed Scissors
House Hold and Taylor Scissor
Multi-Purpose Plastic Handle Scissor
Eye Brow Tweezers
Multi-Purpose Tweezers
Face Black Head Cleaners and Nail Pusher
Cuticle and Nail Pushers
Nail Care Products
Cuticle Nail Nippers
Nail Cutters
Acrylic Nail Cutters
Shaving Razors & Belts
File Scrapers & Cor
Nail Clipers
Different Packing & Kits
Beauty Care Kits
Barber Kits
Cuticle Fine Scissor
Eye Brow, Jeweller & Watch Tweezers
File & Tip Cutters
Veterinary Instruments
Castrators
Bull Nose
Scissors & Shears
Torcars
Hoof Knives
Teat Instruments
Helters
Miscellaneous
Self Retaining Retractors
Castration Forceps
Ear Instruments
Obstetric Instruments
Dehorning Instruments
Needle Holders with Carbide Tips & Handle
Restraining Equipment
Equine Instruments
Livestock and Identification Equipment
General Instruments
Farrier's Tools & Leather Products
Eye Instruments
Anterior Chamber And Iris Forceps
Capsular Forceps
Capsular Forceps and Erisiphakes
Eye Knives
Eye Speculas
Fixation And Tissue Forceps
Fixation,Tissue and Watchmaker Forceps
Instruments For Radial Keratotomy
Iris Forceps
Iris,Fixation and Capsular Forceps
Keratomes
Keratomes. Various Eye knives
Lid Retractor
Ligature Needles
Muscle,Advancement and Entropium Forceps
Strabismus,Muscle and Advancement Forceps
Suture and Tissue Forceps
Suture Forceps and Strabismus Forceps
Suture Forceps
Trochoma and Chalazion Forceps
Type:
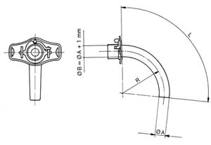
Tracheal Tubes
Art No:
Q-017-07
Size:
Description:
Tracheal Tubes
Available Sizes :
Q-017-04
Q-017-05
Q-017-06
Q-017-07
Q-017-08
Q-017-09
Q-017-10
Q-017-11
Q-017-12
Q-017-13
Quantity:
Sign up for Newsletter
Site Menu
Home
Company Profile
Instruments Care
Inquiry Basket
Contact Us
Quick jump to products
Surgical Instruments
Dental Instruments
Beauty Care Instruments
Veterinary Instruments
Eye Instruments
Quick jump to products
Alibaba account
Ec Plaza account
Tradekey account
Download PDF CATALOGUE
Click to Download
DOMO Corp.
Quick Contact
Feroz Street, 4/307 Murray College Road
Sialkot, 51310, Pakistan
Phone
:
+92 300 6103121
Fax
:
+92 52 4590099
Email
:
info@domocorporation.com
Follow Us
Copyrights
© Domo Cropration
all rights reserved 2005 - 2015
Designed & Developed By:
Dynamic Experts Solution