Last Update :
My Cart 0 items
 
 
Our Products Detail
 
Our Categories Surgical Instruments »  Tracheotomy
 
 
 
Tracheal Tubes
 

 

 
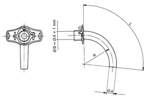
Type: Tracheal Tubes
Art No: Y-062-11
Size:
 

Description:

  • Tracheal Tubes
  • Available Sizes :
     
     
    Quantity:    
     
     
     
     
     
    Sign up for Newsletter
     
    Site Menu
    Home
    Company Profile
    Instruments Care
    Inquiry Basket
    Contact Us
    Quick jump to products
    Surgical Instruments
    Dental Instruments
    Beauty Care Instruments
    Veterinary Instruments
    Eye Instruments
     
    Quick jump to products
    Alibaba account
    Ec Plaza account
    Tradekey account
    Download PDF CATALOGUE
    Click to Download DOMO Corp.
    Quick Contact
    Feroz Street, 4/307 Murray College Road
    Sialkot, 51310, Pakistan

    Phone: +92 300 6103121
    Fax: +92 52 4590099
    Email
    : info@domocorporation.com
     
    Follow Us
     
     
    Copyrights © Domo Cropration all rights reserved 2005 - 2015 Designed & Developed By: Dynamic Experts Solution